文:mic
這邊廂有指 Canon 於 2019 不會推出任何單反 EF 鏡,那邊廂無反的 RF 鏡卻是開發得如火如茶,最新就有傳 RF 系列於 2019 年最少會有多達 7 支新鏡。而說到用家最為期待之一,不得不提的就是 70-200mm f/2.8 規格鏡頭,網上最新就流出了 RF 70-200mm f/2.8L IS USM 的設計專利,為 EOS R 系統的「大三元」系列建軍。

▲EF 70-200mm f/2.8L IS III USM
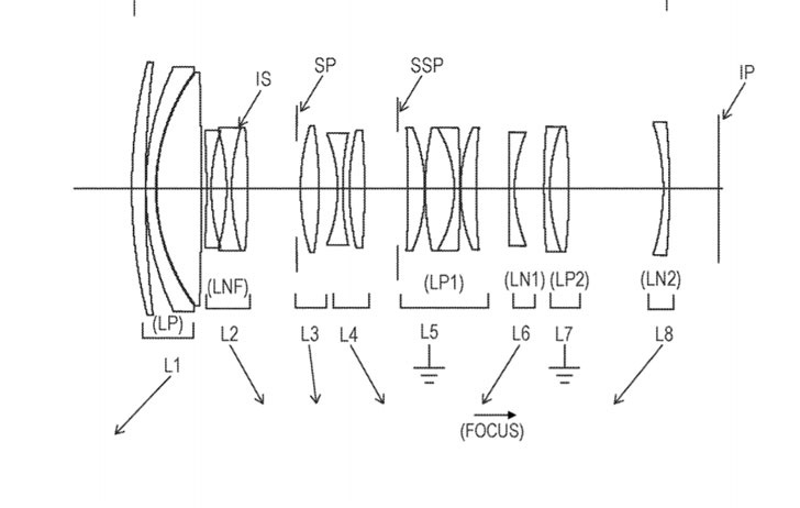
對於 Canon 來說開發 70-200mm 規格鏡頭稱得上已是駕輕就熟,就以單反 EF 鏡為例連計 f/2.8、f/4.0 以及不設 IS 規格的話,前前後後便已推出過 7 支 70-200mm EF 鏡。而作為 EOS R 系列中首支,個人估計 RF 70-200mm f/2.8L IS USM 亦會照舊以 Canon 招牌的紅圈白鏡造型現身,而可以肯定的是,鏡頭光學上亦會配備多片 UD 甚至是螢石一類特殊鏡片以消除色差,不過細看鏡頭的結構,鏡頭的設計似乎就不及 EF 70-200mm f/2.8L IS III USM 採用的 19 組 23 片設計複雜,只是使用了 13 組 17 片設計,是否無反鏡後距的縮減如 Canon 早前所講同時減少了光學上修正的需要?從設計看來似乎又真的有一定的關係。

▲RF 70-200mm f/2.8L IS USM 光學上採用了 13 組 17 片設計。
消息及相片來源:canonrumors




