首頁
新聞中心
相機及鏡頭頻道
手機頻道
汽車頻道
二手市集
作品發表
shop@dcfever購物
攝影圈
Fever 達人
FeverModels
討論區
攝影旅遊
登出
會員
登入
註冊新會員
買賣管理
我的物品
我的評價
搜尋關鍵字通知
我的收藏
手機認證
其它設定及說明
帳戶設定
會員中心
交易對話
私訊
新聞主頁
iPhone 17先達回收價
攝影器材
手機通訊
汽車熱話
攝影文化
影片攝錄
測試報告
生活科技
攝影技巧
攝影名詞
發表用家心得
新聞中心
手機通訊
熱門主題
評測
Apple
Sigma
傳聞
Canon
Sony
HUAWEI
200mm F2
小米
iPhone 17
iPhone Air
Nikon
iPhone 17 Pro Max
135mm F1.4
八達通
小米 15T
iPhone 17 Pro
電動車
Samsung
國產 AF 鏡頭
Samsung CEO 訪問透露 Galaxy Note 未來、摺屏手機將有新內容
2022 年 2 月 13 日
Samsung 近日公佈全新 Galaxy S22 系列手機,當中 Samsung Galaxy S22 Ultra 就加入了 Galaxy Note 系列的 S-Pen,令人更相信 Galaxy Note 系列手機...
(繼續閱讀)
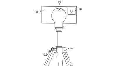
附帶充電功能?Apple 磁性 MagSafe 三腳架轉接器專利
2022 年 2 月 12 日
自 Apple 在 iPhone 12 起引入 MagSafe 技術,令充電更加方便。由於 MagSafe 是置於 iPhone 12 系列和 iPhone 13 系列內部充電線圈周圍的一系列磁石...
(繼續閱讀)
Nothing ear (1) 神徒耳機再更新:還有筍價優惠
2022 年 2 月 11 日
要數去年其中一款最受歡迎的真無線耳機,有 Mirror 成員 Anson Lo 加持的 Nothing ear (1) 的確佔一席位。這款耳機自推出後都動作多多,早前憑軟件...
(繼續閱讀)
Samsung 想你長用 Galaxy 手機平板智能錶!公佈 5 年保證升級計劃
2022 年 2 月 11 日
近年不少手機品牌都提供一定年期的系統與安全更新支援,讓買家用得更放心。作為市場一哥,Samsung 亦為部份手機、平板電腦及智能手錶 (Wear OS),推...
(繼續閱讀)
5G 月費減價戰:$149 有 100GB 數據,仲包中國用 Data
2022 年 2 月 10 日
近日不少電訊商出現 5G 月費計劃減價戰,CMHK 亦不「執輸」推出 5G 月費半價優惠,最平 HK$149 已有 100GB 本地 5G 數據及 6GB 中國數據服務。
(繼續閱讀)
Samsung Galaxy Tab S8 Ultra 航母級平板試玩
2022 年 2 月 10 日
Samsung 今次 Unpacked Event 中,除了有令人期待的 Galaxy S22 Ultra 之外,擁有 14.6" 的航母級平板 Galaxy Tab S8 Ultra,亦是大家關注的產品。
(繼續閱讀)
Samsung Galaxy S22 Ultra 新功能上手試
2022 年 2 月 10 日
剛剛發表的 Samsung Galaxy S22 Ultra,今次將 Galaxy Note 系列的 S-Pen 植入,而一億四鏡頭主相機在演算法及硬件亦有強化,今次上手試玩影片,會...
(繼續閱讀)
Samsung Galaxy S22、Galaxy Tab S8 定價揭曉
2022 年 2 月 10 日
Samsung Galaxy S22 系列手機與 Galaxy Tab S8 系列平板電腦剛剛發佈,相信大家都會很關心它們的賣價,現在一次過跟大家揭曉...
(繼續閱讀)
Samsung Galaxy S22 Ultra 試玩:有番支 S-Pen 的確更醒神
2022 年 2 月 10 日
Samsung Galaxy S22 系列手機今日正式發,當中首次在 S 系列手機中加入內置 S-Pen 的 Galaxy S22 Ultra,究竟有什麼改進?
(繼續閱讀)
【更正】Samsung Galaxy S22、S22+ 試玩:升級 5000 萬像顯威力
2022 年 2 月 10 日
Samsung 今次發佈表的 Galaxy S22 系列手機,雖然 Galaxy S22 Ultra 定位最高,但 Galaxy S22 與 Galaxy S22+ 首次應用裝甲鋁機身,主相機亦提升為...
(繼續閱讀)
【更正】Samsung Galaxy S22、S22+ 裝甲鋁旗艦機登場
2022 年 2 月 9 日
經過大半年的傳聞消息,Samsung Galaxy S22 系列,終於在 2022 年首個 Unpacked Event 中面世,今次系列與上代一樣,同有三款手機,分別是 Galaxy S...
(繼續閱讀)
下一頁
精選文章
鳥攝專家超詳盡戶外實測!專業級相機背包「殘酷二選一」
OM-3 色彩生態圈誕生!OM System 增設「色彩配方」交流平台
細機無風扇?Nikon ZR 點解能拍足兩個鐘 6K60p?
iPhone Air 評測:廉價買到的虛榮感
Jomo Nautic Stellar 評測:勞力士鋼不只豪華,對聲音亦有正面作用
天使吉米 TANCHJIM ORIGIN LOST MANOR 評測:值得像 Kodak 盲盒相機立即入手
shop@dcfever 特賣
more
購買 Canon R5 II / R6 II / R8
秋天出遊準備好時機
R5 II/ R6 II 同購指定鏡頭即減 $2000
R8 同購指定鏡頭即減 $1000
Sony A7C II
輕便全片幅無反相機
會員優惠即買即減優惠
送原廠電+SF-M128卡
Nikon Zf 銀色版現貨發售
全新設計的鍍鉻銀色版本
將推出全新菲林顆粒功能
送原廠電+休閒袋(總值$1350)
KODAK PIXPRO C1 最新輕便相機
26mm 廣角鏡 180度反 Mon 設計
Y2K 味道 輕鬆自拍 只重118g
$890 免運再送64G MICROSD卡