首頁
新聞中心
相機及鏡頭頻道
手機頻道
汽車頻道
二手市集
作品發表
shop@dcfever購物
攝影圈
Fever 達人
FeverModels
討論區
攝影旅遊
登出
產品瀏覽紀錄
未有瀏覽紀錄
會員
登入
註冊新會員
買賣管理
我的物品
我的評價
搜尋關鍵字通知
我的收藏
手機認證
其它設定及說明
帳戶設定
會員中心
交易對話
私訊
發表用家心得
相機資料館
鏡頭資料館
相機評測
鏡頭評測
測試相片
用家心得
瀏覽紀錄
瀏覽紀錄
未有紀錄
首頁
相機鏡頭
相機器材消息
攝影器材消息
【入手、升級要知】Sony A7C、A7C II、A7C R、A7RV 大混戰!
2023 年 8 月 30 日
Sony 剛剛為三年前推出的 A7C 輕巧型全片幅無反相機推出後繼版本,今次品牌更一口氣以不同像素的感光元件推出姊妹機種 A7C II 和 A7C R,究竟作為 ...
(繼續閱讀)
(CC字幕)【新機實測】上船實試!A7C II 同 A7 IV 同場對決!Sony基本型號到底要選哪一部?
2023 年 8 月 30 日
Sony 公佈 A7C II!亦同時推出 FE 16-35mm F2.8 GMII。這次謝飛、Brian和都生就用新機 A7C II 加上 FE 16-35mm F.28 GMII 到葛量洪號幫 Carman 打卡...
(繼續閱讀)
次世代大三元齊集!Sony FE 16-35mm f/2.8 GM II 更高性價比
2023 年 8 月 29 日
Sony 幾年前已經開始為一些較早期推出的鏡頭進行更新,推出第二代型號。當中最引人注目的當然是「大三元」這幾支向來最受歡迎的產品。而繼 70-200mm...
(繼續閱讀)
全片幅細機打孖嚟!Sony A7C II + A7C R 兩路夾擊
2023 年 8 月 29 日
Sony 的 A7C 輕巧型全片幅無反擁有甚高性價比,因此大受歡迎。時移勢易,也到了改朝換代的時候。Sony 今次就一次過公布兩部新機,包括採用跟 A7IV ...
(繼續閱讀)
Fujifilm 912 公布新機將有新菲林模擬?
2023 年 8 月 29 日
關於 Fujifilm 於 9 月 12 日將公布的新品,主要傳聞都指向新機將為定級的中片幅相機。但即使是 Fujifilm 用家,亦未必人人會覺得跟自己有關,畢竟...
(繼續閱讀)
200-500mm f/4 真的要來?傳上一代鏡已停產
2023 年 8 月 29 日
雖然 Canon 才剛推出 RF 100-300mm f/2.8L IS USM,傳聞就已經指 Canon 即將又會推出一支 RF 接環的 200-500mm f/4 鏡頭。而剛剛就有「證據」提升了...
(繼續閱讀)
七工匠 7Artisans 公布小巧全片幅 9mm 鏡頭
2023 年 8 月 27 日
全片幅鏡頭去到 9mm 的超廣角焦距,很多時可以直接以超焦距的方式不對焦就拍攝,不但適合拍攝「大景」,也適合用作舉手即拍的街拍之用。剛剛七工匠...
(繼續閱讀)
Sony 300mm f/2.8 GM 高清諜照流出
2023 年 8 月 26 日
早幾天有影片流出了傳說中 Sony 即將會推出的 300mm f/2.8 鏡頭相片,但當時的影像其實非常濛,大約只可估計到此鏡的外形。但今次傳聞網就流出了多...
(繼續閱讀)
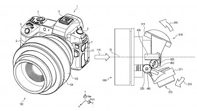
Canon 最奇怪的增距鏡專利,難道為大光圈電影鏡而設?
2023 年 8 月 26 日
過往的增距鏡頭大多為遠攝鏡頭而設,用來倍增主鏡頭的望遠效能,並且以手動連接方式安裝在相機和主鏡頭中間。即使現時部分已內置增距鏡的超遠攝鏡,...
(繼續閱讀)
(CC字幕)【肥花一週 AUG#04】TAMRON將開發17-50mm F4丨Canon授權副廠生產RF接環AF鏡丨GoPro12諜照流出!...
2023 年 8 月 26 日
TAMRON 將開發 17-50mm F4!Canon 竟授權副廠生產 RF 接環 AF 鏡?GoPro 12 諜照流出,惜一吋感光元件又落空!天文現象!8月31現超級藍月亮。今天就...
(繼續閱讀)
對焦更快、外型更小巧:更多 Fujifilm GFX100 II 規格流出!
2023 年 8 月 26 日
Fujifilm X Summit 將會在 9 月 12 日於瑞典斯德哥爾摩舉行,早前傳聞網已經表示當日很大機會會迎來 GFX100 中片幅無反相機的更新,而新機或會使用...
(繼續閱讀)
風力不變,價錢更低!Nitecore BlowerBaby 21 電動除塵器
2023 年 8 月 26 日
Nitecore BlowerBaby 電動除塵器在短短兩三年間已經有多款產品,亦因應市場需要而加推入門級產品,令品牌在影友間有相當的知名度。日前 Nitecore ...
(繼續閱讀)
半格相機回歸,Ilford 用家即棄菲林機相片數量倍增
2023 年 8 月 25 日
想玩菲林機的影友,若嫌一筒菲林只能拍 36 張相片,感覺不太划算,大可試試 Ilford Photo(伊爾福)剛宣佈推出的用完即棄半格相機 Ilfocolor Rapid...
(繼續閱讀)
Sony FE 300mm F2.8 GM OSS 首張諜照曝光!
2023 年 8 月 25 日
早幾日才流出 Sony 在今年 1 月時宣佈開發中的 FE 300mm F2.8 GM OSS 樣本照片,已經令這支專業級長砲的消息再次炒熱,已令一眾 Sony 用家相當期待...
(繼續閱讀)
一鏡兩用更實際!Tamron 公布開發 17-50mm f/4 Di III VXD
2023 年 8 月 24 日
過去一般超廣角變焦鏡的變焦倍數多為 2 倍左右,論使用方便度不比定焦但更大光圈的超廣角定焦鏡好太多。而且很多時鏡身更大得多,不少朋友寧願會買...
(繼續閱讀)
羽量級中片幅廣角鏡:Hasselblad XCD 28mm F4 P 輕鬆隨行
2023 年 8 月 24 日
Hasselblad 剛剛為其 X 系列中片幅無反相機系統推出 XCD 28mm F4 P 廣角定焦鏡頭,其 245g 的羽量級重量,成功取締 Hasselblad 早幾年推出的 XCD 4...
(繼續閱讀)
GFX100 後繼機用新一代 1 億像素感光元件?
2023 年 8 月 23 日
9 月 12 日的 X Summit 展開在即,關於當日會公布的內容傳聞亦越來越多。而一直以來,有傳聞當日將會公布最頂級 GFX100 的後繼機種。而據傳聞網最新...
(繼續閱讀)
GoPro Hero 12 諜照流出,1" Sensor 不再?
2023 年 8 月 22 日
GoPro 擬定在今年 9 月發表年度新品 Hero 系列運動相機,輾轉將會邁向第 12 代。早前曾有消息指出 GoPro 或會在 Hero 12 上改用 1" CMOS 感光元件,...
(繼續閱讀)
感光元件有重任,Sigma 新專利劍指完美白平衡
2023 年 8 月 22 日
廠商研發新數碼相機,大多集中在增加像素、自動對焦表現,以及連拍及主體追蹤效能上,白平衡好像是較少被留意的一環。最近 Sigma 有一份專利技術文...
(繼續閱讀)
Sony FE 300mm F2.8 GM 樣本照片流出,試玩攝影師:「值得等待!」
2023 年 8 月 21 日
Sony 在今年 1 月時公佈 FE 300mm F2.8 GM OSS 定焦大砲開發宣言,表示這支擁有更高拍攝靈活性的大口徑長砲將會在 2024 年初才正式登場,而部分獲 ...
(繼續閱讀)
上一頁
...
84
85
86
...
下一頁
shop@dcfever 特賣
more
📸影出我風格‧人氣 Level UP⏫
門市/網店一系列購物優惠
型格出行百變組合優惠
送JOBY 八爪魚1K三腳架套裝
Nikon Z 8 頂級優惠
即減$600 Trade-in再減$1,000
送$2000 Trip.com禮券+CF-B卡
優惠總值可達 $5,200
Canon R6 Mark III
六項全能 可靠升級
7K 片門全開 4K120 錄影
3,250萬像素 40張連拍+預拍
同購鏡頭優惠 立即向門市查詢
FUJIFILM X 系列相機
🎞️復古懷舊儀式感之選🎞️
購買指定型號送原廠電
🔋即場換領額外原廠電池🔋