首頁
新聞中心
相機及鏡頭頻道
手機頻道
汽車頻道
二手市集
作品發表
shop@dcfever購物
攝影圈
Fever 達人
FeverModels
討論區
攝影旅遊
登出
瀏覽紀錄
未有瀏覽紀錄
會員
登入
註冊新會員
買賣管理
我的物品
我的評價
搜尋關鍵字通知
我的收藏
手機認證
其它設定及說明
帳戶設定
會員中心
交易對話
私訊
汽車資料館
二手車
新
電動車
試車報告
瀏覽紀錄
瀏覽紀錄
未有紀錄
發表用家心得
汽車
汽車消息
汽車消息及測試
Toyota 全新越野房車即將發表!食玩瞓屙一概「搞得掂」
2021 年 10 月 24 日
日前,日本車廠 Toyota 宣布將會在 11 月 2 日開幕的「SEMA」改裝車展上發布與 Chinook 房車公司合作,一部基於 Tacoma 改造的越野房車,雖然車型暫...
(繼續閱讀)
Porsche 桶椅新技術 3D 打印三種硬度明年買車贈送
2021 年 10 月 24 日
3D 打印技術早已成熟,早年 Volkswagen 集團已經進行過多項投資,而技術早已製造出不同產物應用在汽車業界之內。而日前,意大利跑車品牌 Porsche 也...
(繼續閱讀)
【永恆族】Lexus 發布 10 款英雄特別版車型 對應星級陣容!
2021 年 10 月 23 日
日前,Lexus 發布了10款 MARVEL《永恆族》的車型官方圖片,分別向《永恆族》中的 10 名「英雄」致敬,而車型包括有 GX、NX、LX、LS、LC、IS、RC F 等...
(繼續閱讀)
【試駕】馬莎反擊!Maserati Ghibli Hybrid 新代理首發登場
2021 年 10 月 22 日
意大利豪華車品牌 Maserati(瑪莎拉蒂)去年底結束了香港舊代理的經銷權,新代理 Blackbird Trident 早前接手後隨即發功,積極引入不同的新車車型,...
(繼續閱讀)
Renault 同玩氫能發動!Master 貨加氫 5 分鐘續航逾 500 公里
2021 年 10 月 20 日
日前,法國車廠 Renault 與 Plug Power 合資組成公司「HYVIA」,並正式發布了一款名為「Master」的貨車車型,其特別之處,是以氫作為動力能源,而根...
(繼續閱讀)
「富士康」落場造車!三大電車發表 電動巴士最觸目
2021 年 10 月 20 日
日前,內地科技公司「富士康」在鴻海技術日正式發布純電動汽車品牌「Foxtron」,同時更為外界帶來三款新電車,型號分別為 Model C、Model E,以及 ...
(繼續閱讀)
【試駕】可甜可辣!Mercedes-AMG E53 120 萬有找性價比係點?
2021 年 10 月 15 日
毫無疑問,四門房車「Sedan」是眾多車系中相對比較傳統、較有歷史的車型,有見及此,不同車廠都會分別對他們自家的四門房車額外推出一些更具個性化...
(繼續閱讀)
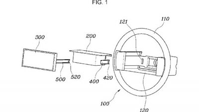
Hyundai 申請軚盤屏幕專利 網民:咁氣袋放邊度?
2021 年 10 月 14 日
近日,韓國汽車龍頭 Hyundai 正申請一項全新設計專利,由圖紙可見,他們有意在軚盤的正中位置放入屏幕,尺寸還貫穿了軚盤直徑,覆蓋了喇叭以及氣人...
(繼續閱讀)
Hyundai 貨車版 STARIA 澳洲亮相!載重 2,500 Kg
2021 年 10 月 14 日
韓國車廠 Hyundai 在澳洲市場,基於現行商旅車款 Staria,加推商用版本「Staria-Load」,以取代原有的 iLoad。根據官方表示,由於 Staria 採用全新...
(繼續閱讀)
MINI 要出「農夫車」?外國車友瘋狂改裝 網民大讚有心機
2021 年 10 月 13 日
的而且確,MINI 在被 BMW 收購之前是有推出過「農夫車」車型,但都已是久遠的事。而近年隨著「農夫車」熱潮再度興起,有外國玩家就開始對自己的 MI...
(繼續閱讀)
拒絕銷售中國製 Tesla !要求本地設廠 印度政府大力支持
2021 年 10 月 13 日
日前,彭博社報道印度公路交通和運輸部部長加德卡裡明確表態,若 Tesla 想要進入印度市場,就不得在印度銷售中國製 Tesla 汽車,而是要在印度當地設...
(繼續閱讀)
3D 打印出 3 千匹馬力!希臘細廠發布驚世超跑
2021 年 10 月 11 日
希臘的一間初創公司「SP Automotive」近日發表了首款車型「Chaos」,除了份屬超級跑車之外,全車外殼均以 3D 打印技術製造。據悉,「Chaos」本來計...
(繼續閱讀)
【本地車訊】平治新代 C-Class 壓境!內外煥然一新
2021 年 10 月 10 日
早在今年 2 月,Mercedes-Benz 新一代的 C-Class 照片已從不同途徑流出,一眾粉絲早有預算,新 C-Class 在科技上的配置會大有提升。日前,代理終於...
(繼續閱讀)
滲入電動化!Ford 新代 Ranger曝光 尾部變化唔大
2021 年 10 月 8 日
日前,美國車廠 Ford 發布了全新 Ranger 的官方預告圖,由照片可見,新車整體的造型驟眼看與上代相差不大,今次以「像素化」作為新車的偽裝,當中包...
(繼續閱讀)
Ferrari 挖角初代 iPhone 設計師 首款電跑 2025 年問世
2021 年 10 月 6 日
全球汽車電動化,新世代電車當然變成了兵家必爭之地,許多傳統燃油車品牌都陸續努力轉營,就連超跑大廠 Ferrari 亦不例外。日前,Ferrari 大股東 Ex...
(繼續閱讀)
大刀闊斧!TOM'S 改裝 GR Supra發布!向 Paul Walker 致敬
2021 年 10 月 5 日
TOM’S 貴為 Toyota 御用改裝機構之一,人氣當然不容小覷!而他們最近更與日本生活方式雜誌「Safari」合作,打造出 3 部白色的 GR Supra 改裝版本,...
(繼續閱讀)
傳 Moke 沙灘車復活!英國製造限量 56 部
2021 年 10 月 5 日
英倫小車 MINI 可載滿 4 人以及行李的同時,能夠靈活地在城市道路中穿行。而有份創造 MINI 的設計師 Alec Issigonis 在早年亦曾經將相類似的理念放...
(繼續閱讀)
膠囊造型跑出!Soventem 電動概念車發表 重質不重量
2021 年 10 月 5 日
英國倫敦一間初創公司 Soventem 發布了一款自家研發的 EV 概念車,計劃在 2024 年投產。有別於其他車廠,這部電動車的年產量只會控制在 3000 部之內...
(繼續閱讀)
步 GT-R 後塵!Audi R8 V10 相繼宣告退出澳洲市場!
2021 年 9 月 30 日
澳洲車迷又要迎來痛心消息!繼 Nissan(日產)GT-R 於前陣子宣告退出澳洲市場後,日前再到 Audi 宣布,旗下的 R8 V10 跑車亦會撤出當地市場,而停產...
(繼續閱讀)
【試駕】強勢回歸!Toyota 四代 Prius Facelift 更齊料
2021 年 9 月 30 日
闊別兩年,日本車廠 Toyota(豐田)指標性的混能車 Prius 終於回歸香港,雖然同為第 4 代版本,但「小改」後面目全非,除了外觀截然不同之外,內裡...
(繼續閱讀)
上一頁
...
57
58
59
...
下一頁